液压电磁阀原理
液压电磁阀是用来控制流体的一种自动化基础元件,属于执行器。液压电磁阀用于控制液压流动方向,工厂的机械装置一般都由液压缸控制,所以就会用到液压电磁阀。下面就让我们来了解一下液压电磁阀工作原理是什么?
液压电磁阀工作原理
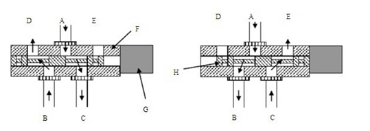
液压电磁阀里有密闭的腔,在不同位置开有通孔,每个孔连接不同的油管,腔中间是活塞,两面是两块电磁铁,哪面的磁铁线圈通电阀体就会被吸引到哪边,通过控制阀体的移动来开启或关闭不同的排油孔,而进油孔是常开的,液压油就会进入不同的排油管,然后通过油的压力来推动油缸的活塞,活塞又带动活塞杆,活塞杆带动机械装置,这样通过控制电磁铁的电流通断就控制了机械运动。
液压电磁阀原理图

液压电磁阀厂家推荐
上海标光阀门厂是一家专业生产液压电磁阀的知名企业,为您提供优质的阀门产品,价格实惠、运输快,我们秉承“顾客至上,锐意进取”的经营理念,坚持客户第一的原则为广大客户提供优质的服务,欢迎广大客户惠顾!

上一篇: 三位三通电磁阀动态原理(图)
下一篇: 电磁阀的用途


